Uma nova patente registrada pela Apple nos Estados Unidos descreve um sistema inédito de gestos para os AirPods que tem o potencial de liberar espaço interno para outros componentes, além de acelerar a execução de comandos — como aumentar o volume ou pular para a próxima música.
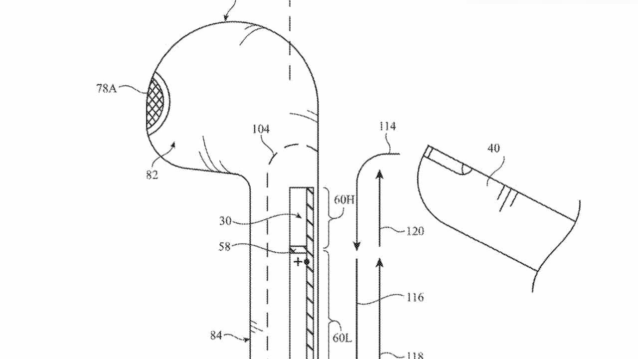
Intitulado “Gesture Detection Based on Antenna Impedance Measurements” (algo como “Detecção de Gestos Baseada em Medições de Impedância de Antena”), o documento propõe que as antenas de rádio dos earbuds sejam usadas para identificar interações físicas — algo que seria possível ao analisar mudanças na impedância causadas por objetos externos (como os dedos do usuário).

Ainda de acordo com a Apple, caso haja duas antenas, seria possível ainda detectar a taxa de variação da impedância e a sequência de qualquer alteração — ou seja, onde o gesto começa e termina, abrindo espaço para ações como deslizes de dedo.
Outro possível benefício dessa abordagem seria a agilidade dos comandos, já que esse sistema apresentaria uma latência menor que os atuais sistemas sensíveis ao toque.
Apesar do foco nos AirPods, a patente sugere que a tecnologia poderia ser aplicada em outros dispositivos, permitindo a eliminação de botões físicos ou superfícies sensíveis ao toque.
Se essa ideia se tornar realidade, essa será a segunda vez que a Apple altera a forma como seus fones de ouvido sem fio reconhecem gestos — lembrando que os AirPods Pro 2 adotaram uma superfície capacitiva que desbloqueou ações como o ajuste rápido de volume.
Bem que espaço extra proporcionado por essa solução podia ser ocupado por uma bateria maior, não é mesmo? 😅
AirPods Pro 3
R$ 2.554,44 R$ 2.699,00 Compre agora
AirPods 4 com Cancelamento Ativo de Ruído
R$ 1.699,00 R$ 1.999,00 Compre agora
AirPods 4
R$ 1.266,90 R$ 1.499,00 Compre agoraNOTA DE TRANSPARÊNCIA: O MacMagazine recebe uma pequena comissão sobre vendas concluídas por meio de links deste post, mas você, como consumidor, não paga nada mais pelos produtos/serviços usando os nossos links de afiliado.
via AppleInsider