A Apple está estudando uma mudança profunda na forma como interagimos com os AirPods. Uma nova patente revela que a empresa avalia substituir os tradicionais sensores capacitivos de toque por um sistema baseado em impedância de antena, usando componentes que já existem dentro dos fones para detectar gestos, reduzir latência e economizar espaço interno. A proposta sinaliza uma evolução silenciosa, mas potencialmente decisiva, para os novos AirPods.
Nos modelos atuais, os sensores de toque exigem camadas físicas adicionais, circuitos dedicados e calibração constante para evitar toques acidentais. Embora funcionais, esses sensores contribuem para o aumento de peso, volume e complexidade do design. Para uma empresa obcecada por miniaturização, cada milímetro importa, especialmente em dispositivos vestíveis.
Ao transformar antenas em sensores multifuncionais, a Apple busca eliminar componentes redundantes, simplificar a arquitetura interna e abrir espaço para baterias maiores ou novos recursos. Essa abordagem reforça a tendência da empresa de integrar funções em menos elementos físicos, algo que já vimos em chips, sensores e até botões virtuais.
O fim dos sensores capacitivos: Por que a Apple quer mudar?
Os sensores capacitivos funcionam detectando variações no campo elétrico quando o dedo do usuário se aproxima da superfície. Apesar de amplamente utilizados, eles apresentam limitações claras para produtos ultracompactos como os novos AirPods. A primeira delas é o espaço físico necessário para acomodar o sensor, o circuito de leitura e o isolamento contra interferências.
Outro ponto crítico é o consumo energético. Sensores de toque precisam permanecer ativos para detectar interações, o que impacta diretamente a autonomia da bateria. Em fones sem fio, onde cada miliampère conta, isso se torna um problema estratégico. Além disso, a latência entre o toque e a resposta do sistema pode ser perceptível, especialmente em gestos rápidos ou repetidos.
A patente da Apple critica indiretamente essas limitações ao propor um método que utiliza algo que já está presente no dispositivo, a antena. Em vez de adicionar mais um sensor, a empresa quer reaproveitar um componente essencial para comunicação sem fio, reduzindo peso, volume e complexidade.

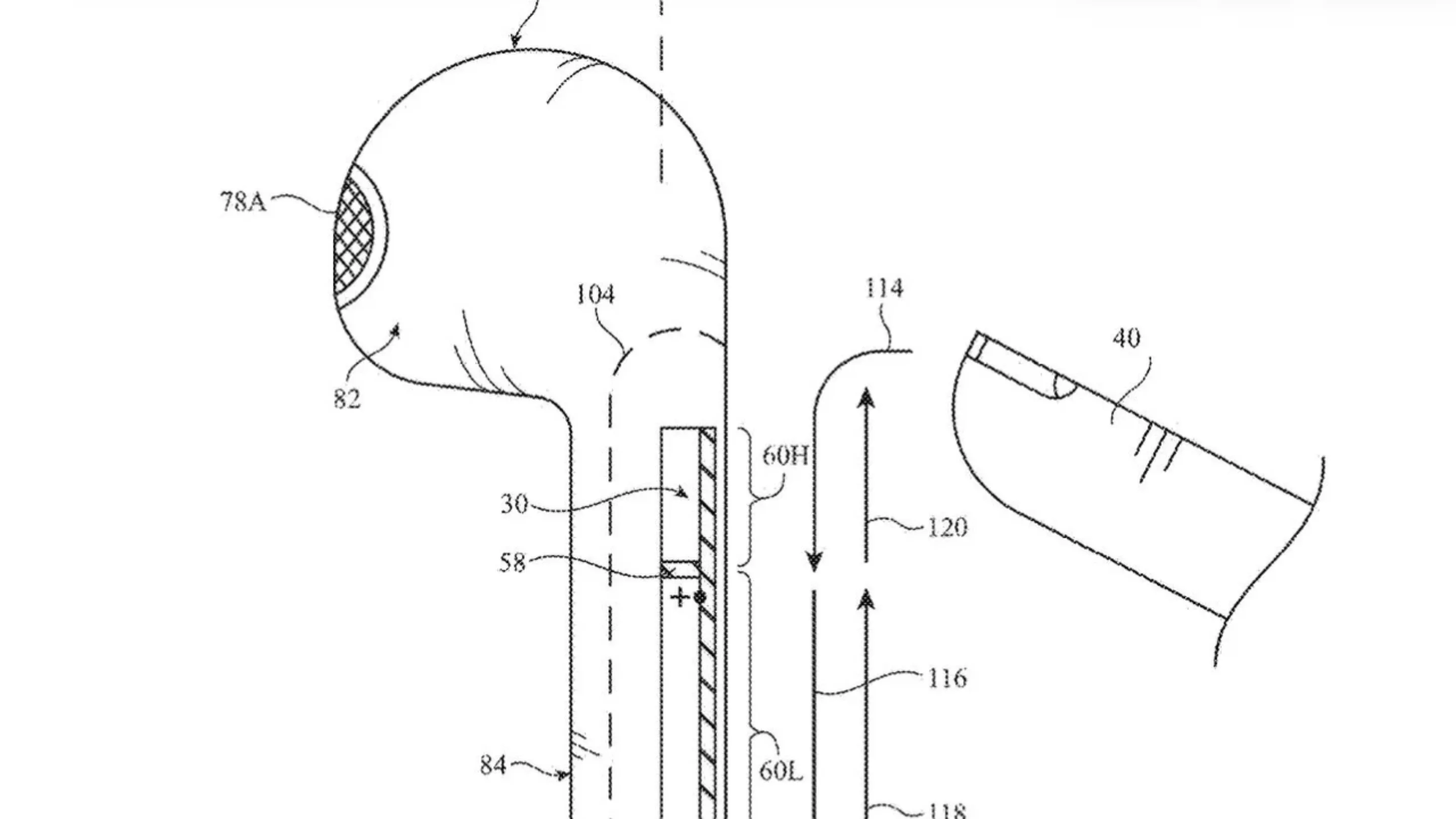
Como funciona a detecção por impedância de antena
A base da tecnologia está na medição da impedância de antena, um parâmetro elétrico que descreve como a antena responde à passagem de corrente alternada. Quando um objeto condutor, como o dedo humano, se aproxima da antena, ele altera o campo eletromagnético ao redor dela. Essa alteração provoca uma mudança mensurável na impedância.
Nos AirPods, a antena já é usada para Bluetooth e outras comunicações. A ideia da Apple é monitorar continuamente pequenas variações nesse sinal para identificar gestos específicos, como toques, deslizamentos ou pressões. Tudo isso sem a necessidade de um sensor capacitivo dedicado.
O sistema descrito na patente utiliza circuitos de leitura de alta precisão e algoritmos de filtragem para diferenciar interferências ambientais de interações intencionais do usuário. Assim, o toque não é detectado por contato direto com um sensor, mas pela perturbação causada no comportamento elétrico da antena.
Menos latência, mais precisão nos novos AirPods
Um dos benefícios mais interessantes da impedância de antena é a velocidade de resposta. Antenas operam em frequências muito mais altas do que sensores de toque convencionais, o que permite taxas de atualização superiores. Na prática, isso significa que os novos AirPods poderiam responder quase instantaneamente aos gestos do usuário.
Essa maior frequência também abre espaço para reconhecimento mais preciso de diferentes tipos de interação. Em vez de apenas identificar um toque simples, o sistema pode distinguir padrões de aproximação, duração e movimento do dedo. Isso possibilita gestos mais complexos, como controle de volume contínuo ou comandos personalizados.
Outro ganho importante é a redução de falsos positivos. Como o sistema analisa variações específicas na impedância, ele pode ignorar ruídos elétricos ou contatos acidentais, algo que ainda afeta sensores capacitivos em determinadas condições.
O impacto para o design e a indústria de vestíveis
Se implementada, essa tecnologia pode transformar o design dos AirPods e de outros vestíveis. Ao eliminar sensores dedicados, a Apple ganha liberdade para reduzir ainda mais o tamanho dos fones ou redistribuir o espaço interno. Isso pode resultar em dispositivos mais leves, confortáveis e com maior autonomia.
Para a indústria de wearables, a ideia de usar antenas como sensores multifuncionais é extremamente atraente. Smartwatches, óculos inteligentes e até anéis conectados poderiam se beneficiar de abordagens semelhantes. A patente da Apple reforça uma tendência de convergência entre comunicação e sensoriamento em um único componente.
Além disso, a redução de peças físicas tende a melhorar a confiabilidade e facilitar a produção em larga escala. Menos componentes significam menos pontos de falha, algo crucial para dispositivos que ficam expostos ao suor, umidade e uso diário intenso.
Conclusão: Quando veremos isso na prática?
Como toda patente, a tecnologia de detecção por impedância de antena ainda é apenas um conceito protegido juridicamente. Não há garantia de que ela será implementada em um produto comercial tão cedo, ou sequer de que chegará ao mercado. No entanto, o simples fato de a Apple investir nesse tipo de pesquisa indica claramente a direção que a empresa pretende seguir.
Para os novos AirPods, a proposta faz sentido estratégico e técnico. Ela resolve problemas reais de espaço, latência e consumo energético, ao mesmo tempo em que abre portas para novas formas de interação. Mesmo que demore alguns anos para se materializar, a patente aponta para um futuro em que sensores invisíveis e multifuncionais substituem componentes tradicionais.
Se essa abordagem se provar viável, não será surpresa ver a indústria inteira adotando soluções semelhantes. A história mostra que, quando a Apple redefine uma interface, o mercado costuma seguir o mesmo caminho.